虽然专利早在2020年3月就提交,但最近才获准公开。
目前,几乎所有的智能手机都会在机身金属中框上开辟天线条带,而从苹果提交的最新专利来看,他们似乎正在尝试解决这个问题,他们正在探索一种新的材料工艺,可以让这些天线条带消失不见。
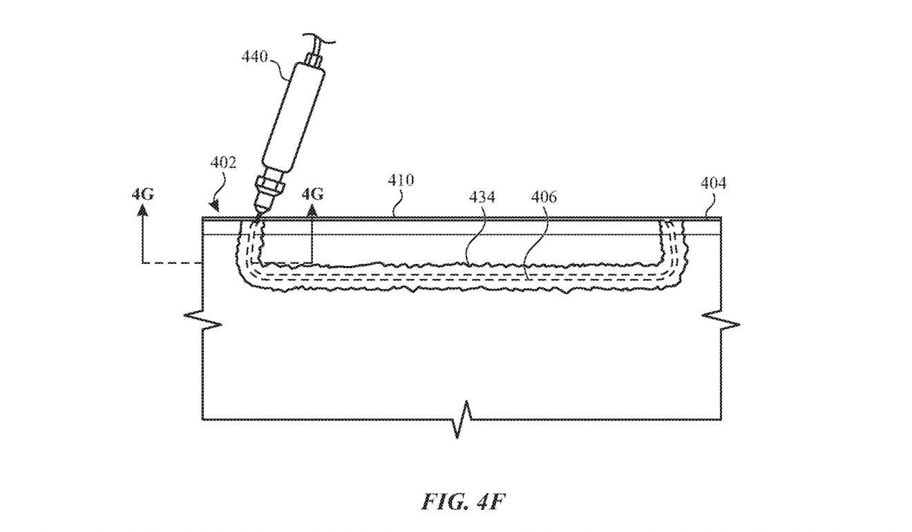
根据专利披露的信息显示,苹果考虑的是一种拼接工艺,尽管依然需要用到塑料,但借助双层油墨沉积着色后,拼接痕迹将不可见,从而巧妙地将天线条带和机身金属或者玻璃等融为一体。

虽然专利早在2020年3月就提交,但最近才获准公开。
今年iPhone 12美版为了支持毫米波频段,还在中框上留下了巨大的“补丁”,有碍观瞻。也许带上述工艺成熟后,我们就能和iPhone、iPad蜂窝机型身上的补丁说再见了。


网友评论