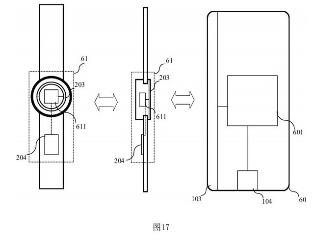
华为这项专利的目的是提高发射电极与接收电极间的等效耦合电容,这样可以有效提高发射装置与接收装置之间的传输功率,从而实现较远距离无线充电,尤其适合智能手环、手表这种贴身佩戴的设备。
国产无线充电的“开山鼻祖”其实不是小米,而是金立研发的金立M7 Plus,虽然现在已经倒闭了。华为紧跟步伐,投入了大量的资本来更加深入的研究无线充电系统。
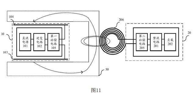
近日,华为技术有限公司公开 “无线充电系统”专利,公开号为 CN112564295A,企查查专利摘要显示,本申请公开了一种无线充电系统,属于无线充电技术领域。本申请中两个发射电极中的一个发射电极和两个接收电极中的一个接收电极通过电导率大于空气的电导率的第一传输介质耦合,因而可以提高这一个发射电极与这一个接收电极间的等效耦合电容,从而可以有效提高无线充电传输距离,增强无线充电灵活性。

根据专利描述,目前的无线充电技术需要两个线圈正对放置,并且距离需要很近才可以充电,这样大大限制了无线充电技术的应用。华为这项专利使用多种介质,包括铁、铝、铜、合金材料、金属管道、设备金属外壳、建筑物金属结构、 接地网等金属,也可以为如人体、动物、土壤、大地、海水等非金属电介质,只要其电导率大于空气的电导率即可。


华为这项专利的目的是提高发射电极与接收电极间的等效耦合电容,这样可以有效提高发射装置与接收装置之间的传输功率,从而实现较远距离无线充电,尤其适合智能手环、手表这种贴身佩戴的设备。以下为该专利的应用演示图:




网友评论