苹果在专利申请当中表示,新的通风底盘设计既能增加底座部分的间隙,又能提高底座部分内部容积的效率,同时保持便携和时尚的外形。
据外媒最新报道,苹果正在为MacBook Pro研究一款新的通风地盘,想要实现自动升降,快速散热。
苹果此前曾研究过一款可弯曲版本的MacBook Pro,它的底盘采用无缝铰链,而不是常规的两段式蛤壳设计。这样做的一个好处是,显示屏无需通过复杂的机制连接到底座上就能打开。
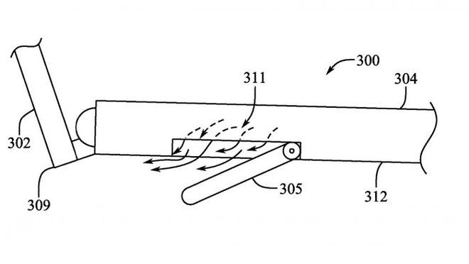
苹果名为"用于显示器衔接和热能性能的可部署脚"的新专利申请关注多个问题,但其中一个问题是关于显示屏在打开时存在潜在风险,苹果给出的解决方案是将底部垫高,同时可以解决笔记本电脑另一个挑战,即在设备外壳内为各种组件提供足够的空间,满足电子设备的散热和其他要求。
苹果在专利申请当中表示,这种设计既能增加底座部分的间隙,又能提高底座部分内部容积的效率,同时保持便携和时尚的外形。早在PowerBook 100上市之初,苹果就在笔记本上装了一对可旋转的脚垫。简单的塑料结构,用户可以将两者扭动,使PowerBook在后面升高,增加打字角度。
这项新的专利申请建议做一些类似的事情,但不是在后面的一对脚。相反,MacBook Pro的整个底部底座可以是一个 "可部署的功能",就像一个非常大的脚。这显然可以解决显示屏外壳底部在桌面上开裂的担忧。同时意味着这样的MacBook Pro将拥有一个倾斜的打字角度。
不过,苹果似乎最感兴趣的是,拥有这样的结构实际上会如何改变MacBook Pro可以包含哪些组件。苹果这个申请的大部分内容描述了一个在需要时可以自行升起的底座,让组件比正常情况下运行得更快,更能散热进行空气循环,将允许MacBook Pro执行比以前更密集的任务。
不过MacBook Pro也可以自己决定是否需要这种额外的通风。苹果表示,电子设备温度正在接近或已经超过一个预先确定的阈值温度,由系统传感器确定,可部署这种底座抬起功能,以降低电子设备的工作温度。这也能解决苹果用户一直面临的问题,尤其是苹果M1 Mac,比如13英寸的MacBook Pro和MacBook Air,两款机器都采用1相同的M1处理器,然而对于比如说视频编辑来说,MacBook Pro是更好的购买对象。这具体是因为它的机箱通风性较好,所以性能更快。




网友评论