近期科技领域迎来多条重要消息:AMD获批L2缓存3D堆叠专利且因显存成本上涨调整显卡布局、苹果A3350显示器能效认证曝光疑似Studio Display 2、8TB NVMe SSD受AI芯片短缺影响重量单价反超黄金。
AMD新专利性能再获突破, L2缓存迈入3D堆叠时代
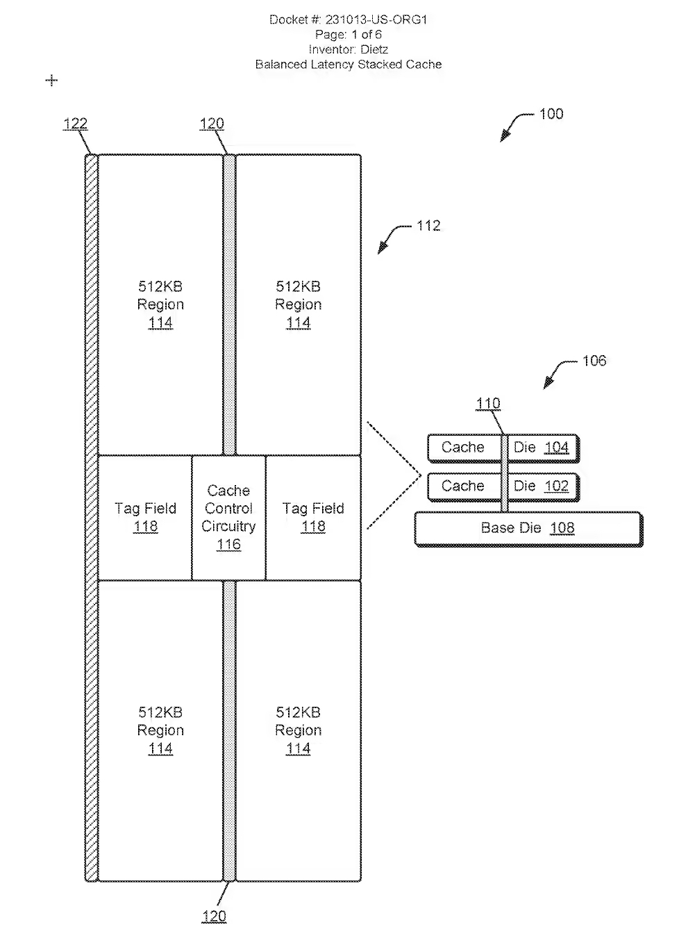
1月16日,美国商标和专利局公示显示,AMD目前已获批《均衡延迟堆叠缓存》专利,计划将3D堆叠技术从现有L3缓存扩展至L2缓存。L2缓存作为CPU核心数据获取的"第二中转站",其容量与速度直接影响处理器响应效率,此次新技术通过硅通孔(TSV)或键合焊盘过孔(BPV)建立垂直通信通道,且将连接过孔布置在堆叠芯片几何中心,实现对称均衡的结构设计,可缩短布线、统一各层数据访问时间,最大程度减少传输损耗。

性能测试显示,1MB L2缓存采用该技术后,访问时钟周期从14个缩减至12个,在CPU缓存访问周期普遍为10-50个的行业背景下,这一优化堪称重大突破。值得一提的是,AMD早在2021年便推出L3缓存堆叠的3D V-Cache技术,目前已迭代至第二代,此次L2缓存3D堆叠专利的获批,将进一步完善其缓存技术布局。不过该专利仍处于申请公示阶段(编号US20260003794A1),从技术落地到产品上市仍需一定周期,实际表现还将受物理因素影响。
鲜辣酷评:英特尔的压力上来了。
苹果A3350显示器能效认证曝光,疑似Studio Display 2登场
1月16日中国能效标识中心数据库新增一款苹果未发布显示器,型号为A3350,备案日期为1月15日。该产品归类于"显示器2023版",能效等级达2级,并且明确采用LCD面板,其关闭状态功率0.35W、睡眠状态功率0.38W,能源效率为2.0cd/W,定位高性能LCD显示器。

结合近期科技媒体@MacRumors的推测,这款A3350大概率是下一代Studio Display,也可能是Pro Display XDR的继任者(现款两者均为LCD面板)。新机核心升级将集中在高刷与算力两大维度,有望支持ProMotion技术,最高刷新率可达120Hz,同时完善HDR支持,还可能内置A19或A19 Pro芯片,相比现款的A13 Bionic芯片,将大幅提升图像处理、摄像头功能及空间音频表现。参考现款Studio Display发布前三个月的备案规律,该新品或于2026年3-4月正式亮相。
鲜辣酷评:OLED的升级堪称苹果史诗级更新。
显存成本上涨施压,AMD重心将转向RX 9070 XT
1月18日消息受显存成本持续上升影响,AMD对新一代RDNA 4架构显卡的产品布局进行调整,将更多资源与产能向利润空间更大的Radeon RX 9070 XT倾斜。据ProHardVer报道,RX 9070系列面临供货与定价压力,其中非XT版本早已跌破厂商建议零售价,在显存短缺加剧的背景下调价压力进一步增大,而RX 9070 XT在多数地区售价稳定在650-800美元(约合4540-5587元人民币),对显存价格上涨的敏感度更低,能为AMD吸收成本压力提供更大空间。

此次调整后,RX 9070非XT版本不会停产,但产量占比将下降,XT版本产量将相应增加,此举有助于减少频繁的价格修正。值得注意的是,同行业的NVIDIA也在调整策略,计划主推8GB显存的RTX 50系列产品,同时收缩部分大显存版本出货量,双方均在通过产品结构优化应对DRAM采购成本上涨问题。此外,AMD Radeon RX 9060 XT 16GB在目前AMD的产品线中缺乏直接替代型号,所以依旧保持着不可替代性。
鲜辣酷评:借助架构优化与产品策略的更改,本质是降本增效。
内存疯狂涨价至8TB NVMe SSD每克价格反超黄金
1月17日消息,科技媒体@Tom's Hardware发布一篇调研报告显示,受全球AI芯片短缺影响,大容量NVMe固态硬盘价格飙升,8TB消费级型号“重量单价”已超越黄金,4TB型号价格也在快速逼近。

NVMe SSD凭借专属高速传输协议,读写速度远超传统SATA硬盘,是高端PC用户与专业创作者的首选存储设备。此次调研覆盖多家主流零售商,采集100余个样本,仅聚焦4TB及以上容量PCIe 4.0/5.0消费级现货产品,排除了企业级硬盘。
核心数据显示,当前黄金每克约148美元(约合1034元人民币),一块标准M.2接口NVMe SSD重约8克,对应黄金价值约1148美元(约合8018元)。而8TB NVMe SSD均价已达1476美元(约合10309元),较同等重量黄金溢价28.6%。

4TB市场则呈现明显价格分化:800美元以下多为基础存储型号,高性能款需支付高额溢价。品牌方面,西部数据及闪迪的高端型号占据价格榜主流,或因需求旺盛或进货成本上涨。PCPartPicker数据显示,过去两个月4TB NVMe SSD价格剧烈上升,旧低价库存逐渐清售,市场价格体系重构。
业内建议,普通用户可优先选择小容量高性价比型号或观望;专业用户等刚需群体可按需采购,避免后续涨价增加成本。目前市场聚焦闪存产能与 AI 芯片需求变化,供应链缓解后价格或有望回归理性。
鲜辣酷评:内存价格超过黄金的时候终于来了,科技界的硬通货。

网友评论