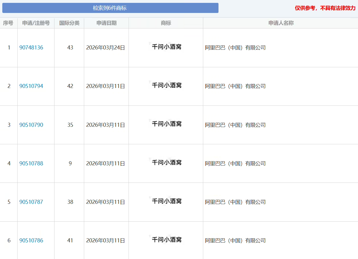
PChome 4月21日消息,阿里巴巴(中国)有限公司于今年3月11日申请了多项名为“千问小酒窝”的商标,该商标涉及人工智能即服务、模拟对话聊天机器人软件、科学研究及娱乐用途的具身智能人形机器人等核心技术领域。
PChome 4月21日消息,阿里巴巴(中国)有限公司于今年3月11日申请了多项名为“千问小酒窝”的商标,该商标涉及人工智能即服务、模拟对话聊天机器人软件、科学研究及娱乐用途的具身智能人形机器人等核心技术领域。

昨日,阿里官方已发布预热海报,画面中呈现一位带有酒窝特征的女性虚拟形象,并配文“4月22日见,hello world”,暗示即将推出全新拟人化AI产品。此举被视为阿里在AI赛道加速布局的重要一环,此前已陆续发布视频模型HappyHorse、世界模型HappyOyster及AI开发工具Meoo(秒悟)等产品。
其“千问小酒窝”名称延续通义千问技术体系,同时通过人格化命名强化亲和力,反映出AI从功能导向向情感化、陪伴型交互演进的趋势。

从官方海报中获悉,该形象以“小酒窝”来弱化技术冰冷感,强化与用户的亲和力,呼应公众对AI陪伴属性的期待;其配文“Hello World”,也是将虚拟化身作为交互载体。

据悉,阿里“千问小酒窝”商标涵盖第9类(科学仪器)、第35类(广告销售)、第38类(通讯服务)以及第42类(设计研究)等国际商标分类,已申请项目包括人工智能即服务(AIaaS)、模拟对话用聊天机器人软件、科学研究用具有人工智能的人形机器人、辅助人类和供人娱乐用具有交流和学习功能的类人机器人等。