近期有消息称苹果可折叠iPad项目已被无限期搁置,但一份最新曝光的专利文件显示,苹果正致力于研发一款独特的卷轴式iPad,这一消息瞬间点燃了科技爱好者们的好奇心。
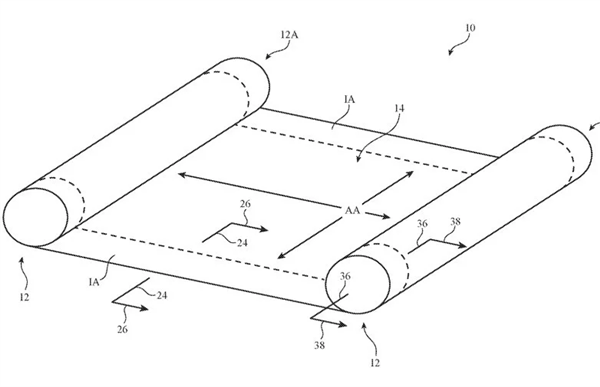
近期有消息称苹果可折叠iPad项目已被无限期搁置,但一份最新曝光的专利文件显示,苹果正致力于研发一款独特的卷轴式iPad,这一消息瞬间点燃了科技爱好者们的好奇心。据报道,苹果的这项专利描述了一种可以将屏幕“卷起来收纳”的装置设计,该设备展开时可呈现大屏幕视觉效果,而携带时则可缩成一个精巧的外形。

值得注意的是,这项专利技术的应用范围不仅仅局限于iPad。从专利中可以看出,苹果构想它还能适配手机、手表,甚至是折叠笔记本电脑等多种设备,展现出强大的通用性和扩展性。其实早在数月前,苹果就提交了此项专利申请,只不过近期才被大众知晓。

虽然专利的曝光让我们看到了苹果在技术创新上的大胆设想,但需要明确的是,专利获批并不等同于产品会马上投入量产。