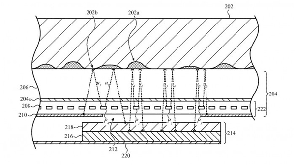
iPhone可以通过在将光学成像阵列放置于屏幕下方之后,其可定向接收透过屏幕传来的光线(与屏幕发光的方向正好相反),而这个光学成像阵列可以适用于任何的成像、感测、或数据聚合等目的,包括但不限于环境光、结构光、指纹、面容等生物特征。
据多方推测,苹果iPhone 13系列将于9月下旬正式发布,影像系统将迎来全面升级。但令人遗憾的是,该机并没有将困扰用户多年的刘海移除,而是通过优化内部的堆叠,将刘海区域的面积缩小,因为至今未能找到可有效替代Face ID且足够安全的解锁方式。
但这个局面可能很快就要被打破了,根据相关报道显示,苹果有一项新的技术专利被曝光,其中正式一种在屏幕下方安放传感器的方法。
该专利指出,iPhone可以通过在将光学成像阵列放置于屏幕下方之后,其可定向接收透过屏幕传来的光线(与屏幕发光的方向正好相反),而这个光学成像阵列可以适用于任何的成像、感测、或数据聚合等目的,包括但不限于环境光、结构光、指纹、面容等生物特征。
也就是说,配备这项技术的iPhone,将有望实现屏下的指纹识别,以及屏下Face ID面容识别,甚至是屏下的虹膜识别等各种生物识别方式,而这一技术也将使得iPhone有希望完全抹除刘海区域,能实现真正的全面屏效果,带来更加震撼的视觉体验。
鉴于目前iPhone 13系列已经要进入量产阶段,其设计已经最终定型,将无缘搭载此项技术,而明年的iPhone 14应该即将进入研发周期,有望成为首款搭载这项技术的机型。
因此,iPhone 14也将有希望成为历史上首款支持屏下指纹、屏下Face ID的苹果手机,值得期待。

